FRPP H44F-10S adductius Typus Valvae DN15-300 1/2"-12" ANSI Standard

FRPP Adductius, Valvae Industrial Plastic One-via Wafer Valvae Factory Price FRPP Wafer adductius Valvae summus euismod unus-modo Valvae pro aqua amet ANSI Standard
Typus: Plastic Valvae
Origin: China
Brand: KXPV
Exemplar: H44F-10S
Applicationem: General
Medium Temperature: Medium, Ambient
Potentia Supple: Manuale
Medium: Acid
Portus Location: DN15-DN300
Structura: Valvae
Product Name: Wafer
Pressura: Medium Pressura
Minimum Order Quantity: 1 Piece
Delivery Time: 7 Days
Color: Grey/Nigrum
Packaging: Carton

Pressura Classis: 1.0Mpa(10bar)

Product Features structuralis

1. Prevents liquorum regressus, soleatus et alia instrumenta tutans.
2. Ut valvae cantileverae perscriptio, minimam resistentiam fluido generat.
3. Ex omnibus materiis plasticis factum, praestantem corrosionem resistentiam praebens acidicis, alkalinis, aliisque humoribus mordax.
4. Valvae corpus a fistula removeri potest, et cappa valvae ad inspectionem et conservationem internam aperiri potest.

App Temperature Bound List

Materia Medium temperatura Materia Medium temperatura
PVC-C -20℃~ 95℃ PVC-U -5℃~ 45℃
FRPP -20℃~ 120℃ PPH -20℃~ 110℃
PVDF 40℃~ 150℃

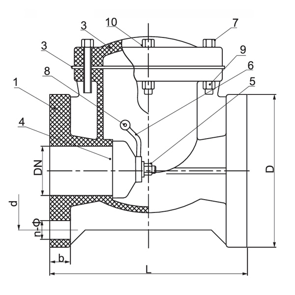
Pars Materia Tabula
Nec. Nomen Materia Qty.
PVC-C PVC-U PVDF PPH FRPP
1 Corpus PVC-C PVC-U PVDF PPH FRPP 1
2 Bonnet PVC-C PVC-U PVDF PPH FRPP 1
3 signantes rubber FPM EPDM FPM EPDM 1
4 ianua PVC-C PVC-U PVDF PPH FRPP 1
5 retinens stupra PVC-C PVC-U PVDF PPH FRPP 1
6 Rocker PVC-C PVC-U PVDF PPH FRPP 1
7 Screw Steel SS Steel Steel 6-16
8 Connectens virga PVC-C PVC-U PVDF PPH FRPP 1
9 Nucis Steel SS Steel Steel 6-32
10 Platen Steel SS Steel Steel 1

Dimension List

Specification d (mm) D(mm) L(mm) b(mm) n-Φ(mm)
1/2" (15) 60 115 160 18 4-Φ16
3/4"(20) 70 115 160 18 4-Φ16
1"(25) 79 115 160 18 4-Φ16
1½»(40) 98 145 170 20 4-Φ16
2"(50) 121 160 200 21 4-Φ19
2½» (65) 140 180 240 25 4-Φ19
3»(80) 152 197 265 26 8-Φ19
4"(100) 191 215 300 26 8-Φ19
5» (125) 216 250 350 30 8-Φ22
6"(150) 241 280 400 30 8-Φ22
8"(200) 299 340 500 30 8-Φ22
10"(250) 362 390 575 38 12-Φ25

Nuntius videre
De Us
Kaixin Pipeline Technologies Co., Ltd.
Conditum est anno MCMXCIX, Kaixin Pipeline Technologies Co., Ltd. est summus technicus inceptis integrandi R&D, fabricandis, venditionibus, ac servitiis. Societas multiplex certificationes prestigious tenet, inter quas National Archi-Tech Inceptum, "Parvus Giant" Specialitas et Urbanus SME, National Singulus Product Champion (Cultus), Provincialis Technologiae fundatae SME, Ningbo Specialitas et Urbanus SME, Ningbo Singulus Product Champion (Cultus), Ningbo Polymerus Pipe & Pipe & Valve Technologia fundata SME Quattuor-stella Management Innovationis Inceptum, et Inceptum Data Management Capability Maturity Level II.
Lorem in enucleando, producendo et praebendo corrosio-resistentes fructus non metallorum ad applicationes chemicae, inclusa valvulae plasticae, tibiae, tibiae, et antliae corrosio-repugnantiae. Portfolio producto nostro palmos materias ut PVC-C, PVC-U, PVDF, PPH et FRPP, comprehensiva specierum et specificationum amplitudine. Egregie valvulae nostri papilionem DN1000 in diametro attingere possunt, dum tibiae et caerimoniae ad DN800 extenduntur, fori hiatus appellans et nostrum competitive ore in industria servans.
Ductus a principio "Technologiae agitatae, Pacem cum temporibus servans" Kaixin fere RMB 10 decies centena milia annuatim R&D collocavit. Praecedimus qualitatem producti superioris per normas factas automated fabricandis et stricte transvectionibus materiae rudis importatis. Cum nostro internationali evolutionis consilio aligned, continue monitores global fori trends et vias digitales pressionibus monentes ut summus qualitas "facta in Sinis" producta ad clientium terrarum orbem perducat.
Ningbo • Fenghua R&D & Production Base
Cum tota obsidione RMB CC decies centena, Kaixin Ultra-Pure Pipe Technologia (Ningbo) Co, Ltd. novas materias laboratorium in collaboratione cum institutis universitatibus et inquisitionibus Institutis aedificavit, in basi fabricandis recentioribus aedificavit, et 8 lineas productionis plene automated pro materia plastica modificata et 8 polymerorum instituit. Facilitas dedicata est R&D, productionis et applicationi novarum materiarum mutationum materiarum et polymerorum. Kaixin etiam summum talentum per disciplinas attrahendi committitur, producti innovationem et notam progressionem continenter agitans, cum propositum ut ducem in R&D globally agnitum efficiat et valvulae polymerorum, tibiarum et caerimoniarum efficiat.
Testimonium Honoris
  • honor
  • honor
  • honor
  • honor
  • honor
  • honor
  • honor
  • honor
  • honor
News